雷蒙磨粉機(Raymond Mill)是一種常用的磨粉設備,適用于礦石、建材、化工等領域的磨礦和磨粉工藝。雷蒙磨粉機利用研磨輥和研磨環之間的相對運動將物料進行研磨和破碎,然后通過分析機的分級作用將物料按粒度進行分類,最終收集和提取所需的成品粉末。下面是雷蒙磨粉機的一般構造和工作原理的簡要說明:
構造:
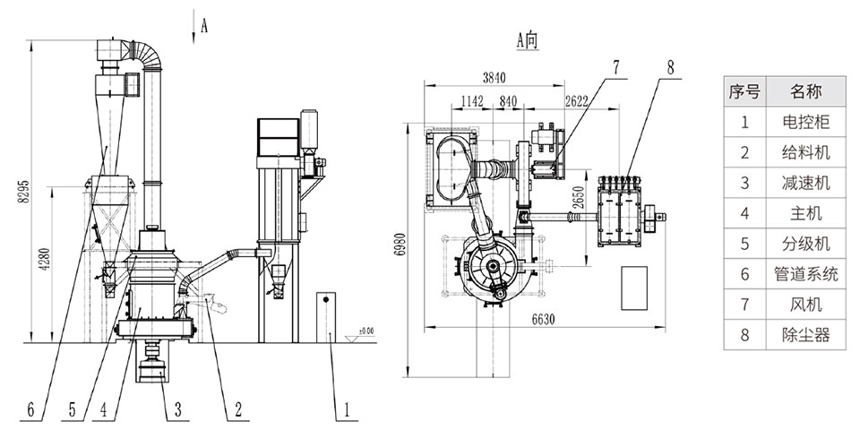
- 主體結構:雷蒙磨的主體結構包括主機、分析機、風機、管道設備和電控系統等部分。
- 研磨裝置:主機內部裝有一套研磨裝置,一般包括主軸、研磨輥、研磨環和研磨刀等部件。研磨輥和研磨環之間形成一定的壓力,將物料進行研磨和破碎。
- 分級裝置:分析機用于控制物料的粒度,根據粒徑的大小對物料進行分級。分析機內部有一組葉輪和篩網,通過調整葉輪的轉速和風量,控制物料的細度。
- 風道系統:雷蒙磨配備風機和管道設備,用于輸送物料和調節磨機內部的氣流。
工作原理:
- 進料和研磨:物料通過進料口進入雷蒙磨的研磨裝置,受到研磨輥和研磨環的擠壓和摩擦力進行研磨和破碎。研磨輥在主軸的帶動下旋轉,同時通過研磨刀將物料進行細磨。
- 分級和排料:經過研磨后,物料進入分析機進行分級。葉輪通過調節轉速和風量,將較細的顆粒通過篩網排出,而較粗的顆粒則被重新送入研磨裝置進行再次研磨。
- 循環和循環風:為了控制磨機的溫度和濕度,雷蒙磨通常采用循環風系統。風機將一部分氣體引入磨機,形成氣流循環,從而將熱量和細粉帶走,保持磨機內部的溫度和濕度。
- 出料和收集:經過分級后,較細的物料通過風力被吹到風道系統中,并通過管道被輸送到物料收集裝置中,最終形成成品粉末。
- 調整和控制:雷蒙磨通常配備有電控系統,可以對磨機的運行參數進行調整和控制。通過調整進料量、風量、葉輪轉速等參數,可以實現對產品粒度、產量和品質的控制。
需要注意的是,雷蒙磨粉機的具體結構和工作原理可能因不同的型號和制造商而有所差異,上述內容僅為一般描述,具體的雷蒙磨粉機設備的構造和工作原理應參考相關的設備說明書或咨詢專業人員。

















